9778818威尼斯
微信扫一扫
首页
威尼斯官网
党群工作
招生简章
校园文化
校友工作
学生服务
内容系统
网络教育
通知公告
网教公告
教学公告
教务公告
学院公告
教学教务
培养方案
开课目录
毕业设计/论文
学位授予
证书样本
统考专栏
统考通知
统考政策
统考系统
统考考务
实时答疑
考试大纲
下载专区
网教科下载
教务科下载
教学科下载
其他下载
录取查询
教育政策
学习中心
技术支持
答疑集锦
教学方面
教务方面
技术支持
其他方面
首页
>
网络教育
>
合作办学
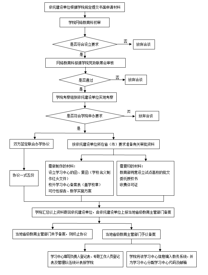
9778818威尼斯网络教育学院申请设立校外学习中心工作流程
发布时间:2017-06-27 15:58:02
作者:网教科
浏览量:10659
更多